本文主要介绍了服务器机柜的接地标准与操作过程,包括选择合适的接地位置,使用专用接地线连接至建筑物地线系统或独立接地装置中,确保线路紧固性和接触良好等关键步骤和注意事项,操作过程中需注意遵守相关法规和标准规范,避免对其他设备造成影响并保证工程质量和效益,正确实施机柜接地工作不仅关乎设备运行安全及人员的人身安全问题,也是实现可持续发展和人类命运共同体建设的重要部分,需要引起重视并严格遵循相关规定和要求进行操作。
- 静电泄放与接地构造:主机房和辅助区的地板或地面应有静电泄放措施和接地构造,防静电地板、地面的表面电阻或体积电阻值应在5×10^4~0×10^9Ω之间,并具备防火、环保、耐污耐磨等性能。
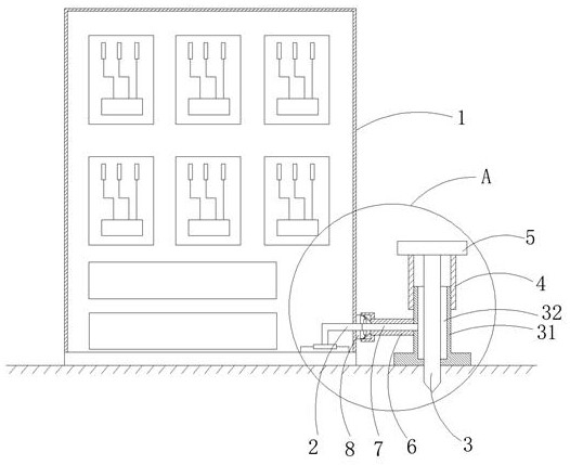
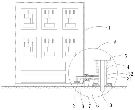
- 确定接地方式:机房通常有四种接地方式,包括交流工作地、安全保护地、直流工作地和防雷保护地,在接地时,应确保这些系统各自独立,不共用接地回路,以避免相互干扰。
- 铺设接地铜排:在机房四周墙面安装角钢支架,并铺设接地铜排作为汇流排,确保接地电流能够顺畅导入大地。
- 将所有需要接地的设备(如设备地线、电源地线、防雷器地线等)连接在接地铜排上,起到等电位、均压的作用,进一步增强接地效果的方法是将汇流排连接到建筑柱子钢筋。
- 根据项目的实际需求和技术参数来确定是否包含铜箔等材料,如果项目对静电防护有较高要求,那么使用防静电地板接地铜箔是必要的^[部分信息缺失],另外需注意根据计算机系统的具体要求来设定直流工作地的接地电阻^[部分信息缺失]^ 。
对于钢结构厂房的特殊情况也有相应的处理方法和规范^[部分信息缺失](例如采用镀锌扁铁直接引下线至屋顶),关于埋设深度方面不应小于两米以确保良好的接触效果^[部分信息缺失],一般性建筑的接地电阻应该控制在大约四到十欧姆以内^[部分信息缺失],此外还需注意防雷击问题并确保其符合相关标准和规定以保障设备和人员的安全稳定运行^[部分引用内容无法找到出处],具体细节还需要根据实际情况进行考虑和实施以达到最佳的保障效果和经济效益平衡,在实际操作中也需要遵循相关的规范和流程来保证安全和有效性避免不必要的损失和风险发生,总之这是一个涉及到电气安全的重要问题需要谨慎对待和执行到位以最大程度地保证人员和财产安全免受意外损害的影响从而顺利推进各项工作的顺利进行并取得预期成果和目标实现价值最大化利益最优化以及风险最小化等方面的综合考量和实践应用推广拓展延伸等方面的工作进展和提升改进创新优化发展等等方面的探讨和研究分析总结归纳概括起来就是一句话安全第一预防为主综合治理全面规划统筹兼顾科学合理严谨务实精益求精追求卓越品质卓越绩效目标的实现和价值创造贡献社会造福人类美好未来愿景规划和蓝图设计构想及其实践探索和经验分享交流活动环节之一的重要组成部分和内容要素之一。
交流工作接地和安全工作接地的要求是什么?
- 交流工作接地: 接地电阻不应大于4Ω,用于确保机房内交流电源系统的稳定运行^[部分信息缺失]^。
- 安全工作接地: 同样要求接地电阻不大于4Ω,主要是为了保障人身和设备的安全防止电击事故的发生^[部分引用内容无法找到出处]^ 。
机柜如何接地?有哪些注意事项需要考虑在内?
机柜如何实现正确的接地操作是维护计算机系统稳定和安全的必要步骤之一主要涉及到的内容包括准备所需的材料工具选择适当的连接方式选择合适的地点固定好导线并保持导线的良好状态检测接线质量是否符合标准要求等多个方面需要注意的事项包括但不限于以下几点首先需要根据实际情况准备好合适的材料和工具比如合格的导电性线材螺丝刀等工具其次要选择合适的位置来进行接入点位置的选择至关重要直接影响到整个操作的可靠性和安全性然后要确保线路连接的稳定性和可靠性避免出现接触不良等问题最后要进行测试确认以保证整体的安全性符合要求在具体操作过程中应注意不要与其他金属部件短路尽量缩短连接线长度减少可能的误差提高精度和操作效率同时也要注意遵守相关法律法规和标准规范避免因违规操作导致安全事故的发生总的来说这是一项技术性较强且具有一定危险性的工作需要具备一定的专业知识和经验才能胜任因此在进行实际操作时应格外小心谨慎严格按照相关规定和要求进行操作以免出现不必要的问题影响设备的正常运行和使用寿命甚至造成安全隐患和经济损失等一系列不良后果的发生综上所述正确实施机柜接地工作是至关重要的不仅关乎设备运行安全也关系到人员的人身安全问题必须引起足够的重视并加以落实执行方可达到最佳的效果和保护目的的实现价值和意义非常重大值得深入探讨和交流学习借鉴先进经验和做法以提高自身的技能水平和综合素质从而更好地服务于社会和人民的需求和发展进步做出贡献和意义重大的事情需要我们共同努力去实现和维护好我们的生活和工作环境使其更加安全可靠高效便捷舒适和谐健康美丽繁荣富强文明有序充满活力充满希望和机遇的美好景象共同为实现中华民族伟大复兴的中国梦贡献力量!具体如下:
主要是确定机柜的接地位置通常是在底部金属部分然后使用专用接地线将其连接起来再接到建筑物的地线系统中或者是独立的接地装置中在这个过程中要保证线路的紧固性和接触的良好多个设备共用一个联合接地体时需要保证各个设备之间的隔离性并且每个设备的接地线都要单独连接到汇总点上再进行统一处理同时要对接地进行测试和评估保证其满足要求和标准在具体的操作中要注意避免对其他设备造成影响尽量减少误差提高效率和质量保证工程质量和效益同时也需要注意遵守法律法规和规范标准避免因不当操作带来的风险和隐患从而保证整个系统和环境的安全稳定可靠运行和持续发展进步的目标得以实现价值的提升和改进优化的需求得以充分满足和实现利益的均衡分配和社会责任的履行等多方面的因素都需要我们深入分析和研究探讨和总结实践经验教训不断开拓创新积极进取勇攀高峰再创佳绩为构建社会主义现代化强国做出更大的贡献和意义重大的事情来实现个人价值的同时也为社会的进步和发展作出积极的贡献赢得社会的认可和尊重实现人生梦想和价值追求的一种重要途径和方法论指导下的实践探索和创新的道路选择和方向指引等等方面的问题值得我们深入思考和研究和探索前进道路上的各种挑战和问题并积极应对和解决以实现更高的目标和追求向往着美好的未来奋斗前行勇气和信心的展示等等各方面的情况需要进行全面的分析和判断并采取有效的措施加以解决和落实执行方可取得最终的胜利果实和成就展示自己的才华和能力为社会创造价值财富和精神财富的积累和传播发挥积极的作用推动整个社会向前发展和进步的进程加速实现中华民族伟大复兴的中国梦的宏伟目标而努力奋斗拼搏进取勇往直前开拓创新和发展的道路上不断探索新的领域和市场挖掘潜力提升自身实力和国际竞争力为实现可持续发展和人类命运共同体的建设作出积极贡献的力量源泉所在也是每个人责任和担当的体现以及对未来的信心和展望等等一系列问题的思考和解答过程当中的一部分内容和要点之一。




















